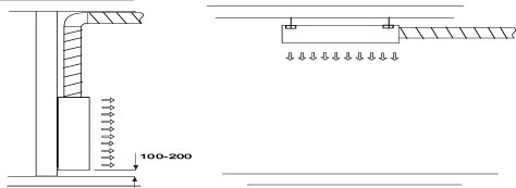
ATC/ATR are mounted to a wall with base and duct cover as accessory.
ATO is assembled on a wall with a recessed plenum built on site.
The AT units are suitable to produce in stainless steel
for kitchens, food industry etc.
Design
ATC/ATR has a pop riveted casing of a solid construction . A rigid perforated front is recessed in the casing. The internal distribution plate with nozzles
provides an even air distribution over the front. As standard front and nozzle plate is removable by means of screws.
ATO consists of a solid pop riveted frame with front and nozzle plate recessed in the frame.Width, depth and connection is standardized while the height is made according to costumer’s requirement.
Material
Front is made in 1.25mm hot dipped galvanized sheet steel. Visible parts powder painted as standard in RAL9010
Other colours according to RAL or NCS are available on request.
For further technical information Download ATpdf




